连花清温?连花清瘟!
随着奥密克戎变异株真症状逐渐减弱,国家颁布了最新的疫情政策。阳性不需要集中隔离,还是在家居家隔离,所以现在很多人都会在家储备一点药物。还在其中连花清瘟胶囊是比较常见的一种流感感冒药,导致连花清瘟胶囊在市场上供不应求。连花清瘟等药物出现断货的情况,甚至#有药店连花清瘟单盒卖百元#。有媒体发文提醒,谨防假冒连花清瘟产品,称是“连花”不是“莲花”,是“清瘟”不是“清温”。
石家庄以岭药业股份有限公司已经在商标里面已经做了很好的了。注册了例如“连花清”“连花”“连花清非”等商标。
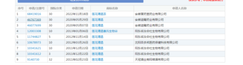
值得一提的是,此前,“连花清温”“莲花清温”“莲花清瘟”“连花青温”以及““连花清温茶”等商标均已被抢注,申请人涉及药业公司、生物公司、互联网公司、食品公司等,国际分类包括医药、医疗器械、方便食品等,其中多枚商标已被驳回或处于无效状态,其余状态多为“等待实质审查”。
在淘宝平台搜索发现,有众多“连花清温茶”在售,且大部分产品的外包装神似以岭药业的连花清瘟。月销量最好的“连花清温茶”售出超过200件,品牌显示为李时珍华真源。按49元的平均价格粗略计算,该产品月销售额超9800元。同样,该产品为代用茶,也就是食品。
所以大家在选择药物的时候一定要谨慎仔细,不要给不怀好意之人可乘之机。
来源:网络。



陕公网安备 61010302000293号