一个月,“高启强”商标的审查结果就出来了
这两个月,论电视剧爆火程度最高的,非《狂飙》莫属了,该剧于2023年1月14日在央视电视剧频道首播,这自然也就引起商标抢注者的关注。
先看下电视名称,从电视剧播出后,一共有26件含有“狂飙”的商标被提出申请,但截止到目前,没有一件初审通过,以后也不会有。
电视剧驳回之前的,时间最近的是上海一家公司在第35类上的申请“狂飙客”,这是核准通过的。
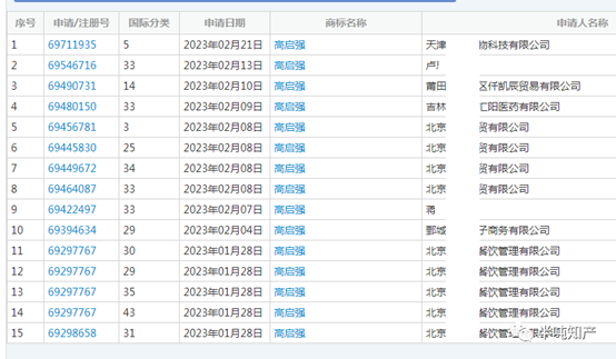
另外,电视剧中,主角“高启强”,也被人拿来申请。查了下,一共有15件。
审查最快的,现在已经出结果了,经过商标局审查,认定“高启强”是扫黑除恶题材电视剧《狂飙》中的主要角色,作为黑社会头目,将其申请注册为商标,易产生不良社会影响,不得作为商标使用。
还有一件,提交申请后,主动撤回。
另外,从数量上看,相比以前热点被抢注成商标,量少了很多。一方面,商标抢注者也懂了,这样的商标拿不到权利;另一方面,抢注行为的打击力度太大了,罚的肉疼!
来源:网络。



陕公网安备 61010302000293号