网红熊猫:花花、乐乐、丫丫”已经有人申请注册商标
近日,《熊猫“乐乐”死亡,中方已做好准备接返大熊猫“丫丫”》的文章冲上热搜。
得到消息后,中方赴美大熊猫专家组第一时间抵达孟菲斯动物园,与美方专家共同完成了对大熊猫“乐乐”的尸体解剖检查,同时,专家组现场察看了大熊猫“丫丫”的健康状况,调阅了其体检报告和健康月报。评估认为,目前“丫丫”除皮肤病导致的毛发脱落外,食欲良好,粪便性状正常,体重稳定。
作为国家一级保护动物,熊猫“乐乐”的死亡,以及熊猫丫丫的状况,得到了国外华人以及国内人民的关注,中国动物园协会处回应网友呼吁尽早接丫丫回国,小编也希望着熊猫丫丫能早日回国。
另外,小编带着好奇心去查了下关于熊猫的商标,果不其然!
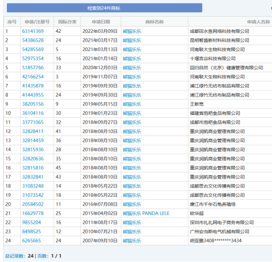
熊猫乐乐已被申请24件商标,如下图:
熊猫丫丫注册0件,虽然熊猫丫丫没有被注册,但是细心的小编发现,有人注册了大熊猫丫丫,如下图:
其中有关熊猫明星“花花”也被人注册申请商标,其中熊猫花花4件,熊猫和花2件,如下图:
眼下,生活中无论是网络热词,还是网红名称等,少数企业、自然人以牟取不当利益为目的经常性抢注商标,已经得到商标局重视,自2022年《关于依法打击恶意抢注“冰墩墩”“谷爱凌”等商标注册的通告》以来,国家已经严格调整审核规则,严厉打击抢注行为,这里,小编还是奉劝大家莫要有抢注商标的行为和想法,到时候商标没抢下来,再被严厉处罚。
来源:网络。



陕公网安备 61010302000293号