“五个女博士”广告惹争议,商标注册被驳回,商标还能继续使用吗?
近日,女性保健饮品“五个女博士”因电梯广告引发争议,广告中一位女性面目狰狞,握拳嘶喊“老公气我,喝”“熬夜追剧,喝”“又老一岁,喝”,“喝五个女博士,都是你们逼的!”,有网友称广告中渲染焦虑、侮辱女性,其刻意刻画出焦虑愤怒、歇斯底里的女性形象,令人不适与厌恶。
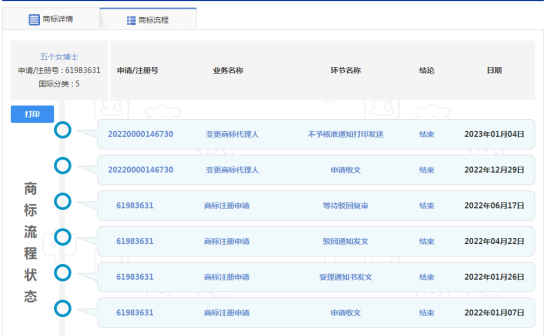
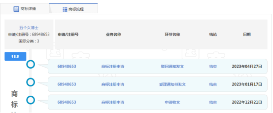
天眼查App显示,“五个女博士”关联公司北京青颜博识健康管理有限公司成立于2019年7月,该品牌背后公司北京青颜博识健康管理有限公司因发布低俗广告、虚假宣传的投诉举报,现已被北京市市场监督管理局立案调查,收集证据材料、约谈品牌方。以下是从商标局官网查询的该公司注册商标的情况:
可见该公司在相关品牌经营的类目下注册了大量的商标,作为核心产品宣传特点和本文重点关注的商标应该是“五个女博士”在化妆品(第3类)、医用营养品(第5类)上的注册结果。然而这2个类的商标该公司申请过多次都被驳回过,最近一次驳回是2023年4月27日。
其实“五个女博士”的第3类商标,青颜公司已申请成功,但是成功下来的商品并不包括该公司经营产品的宣传和使用目的。当注册小项与实际经营类目不符时,确实需要再去注册争取。
除化妆品(第3类)、医用营养品(第5类)是该公司产品宣传和使用所需要的类别外,32类饮料也是比较核心的类别了,所幸的是该公司成功注册该商标。
回到本文观点:被驳回的商标还能继续用吗?1.《商标法》第六条:法律、行政法规规定必须使用注册商标的商品,必须申请商标注册,未经核准注册的,不得在市场销售。
2.国家知识产权局关于印发《商标一般违法判断标准》的通知(国知发保字〔2021〕34号)
第九条规定
第十二条规定
第十三条、第十四条规定
第十五条
从以上条款可见,我国法律不支持商标注册申请被驳回后继续使用商标。继续使用该商标的,会有商标执法部门依法查处的风险,也会有相应的处罚。法律红线莫要触碰。
来源:网络。



陕公网安备 61010302000293号